EN
当前位置:首页>>新闻资讯

高精密直线导轨的安装方式(三)

2023-08-25

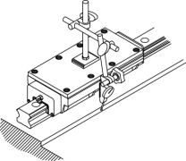
此篇主要讲的是,鹏银精密直线导轨(PYG、SLOPES)无侧向定位装配面的安装,主要有两种方法——假基准面法和直线块规法...

Details>>>

高精密直线导轨的安装方式(二)

2023-08-25

上文提到了一般的安装方式,本篇主要讲解的是,鹏银精密直线导轨(PYG、SLOPES)无侧向螺钉安装的方法。一、基准侧直线...

Details>>>

高精密直线导轨的安装方式(一)

2023-08-25

随着精密工业的不断兴起,高精密度的直线导轨的运用也逐渐广泛。除了直线导轨本身的高精密外,对于导轨的安装,也是有一定的技巧...

Details>>>

鹏银精密亮相玉环国际机床展,接待客户百余

2023-08-25

11月21日,第十九届中国(玉环)国际机床展”圆满落幕。为期四天的展会吸引参观采购40,000多人次,鹏银精密受邀参展后...

Details>>>

直线导轨应该如何选型呢?

2023-08-25

直线导轨如何选型才能避免达不到技术要求或者过度浪费采购成本,以下这四个步骤你要记住:第一步:确定轨宽确定好滑轨的宽度,轨...

Details>>>

直线导轨副的精度划分与检测指标

2023-08-25

直线导轨副的精度分为:普通C级 、高级H级、精密P级 、超精密SP级 、超高精密UP级 五种。主要检测指标一般有三个:一...

Details>>>

有哪些因素会影响直线导轨的寿命呢?

2023-08-25

直线导轨的寿命指的是距离,而不是时间,也就是直线导轨寿命的定义即为珠道表面及钢珠因材料疲劳而产生表面剥离时为止的总运行距...

Details>>>

直线导轨的精度是什么意思呢?

2023-08-25

直线导轨的精度是个综合概念,可以从三个方面划分:行走平行度、高度的成对相互差及宽度的成对相互差。行走平行度是指将导轨用螺...

Details>>>

如何延长直线导轨的使用寿命?

2023-08-25

想要延长直线导轨的使用寿命,需要做好以下几点:1、安装到位直线导轨在使用安装时要认真仔细,使用合适、准确的安装工具,极力...

Details>>>

鹏银科技出席第23届济南国际机床展

2023-08-25

近年来,随着产业结构不断调整升级,我国制造业高新领域技术成果加速突破应用,这不仅推动高新技术迈出“从追赶到领跑”的关键一...

Details>>>

我们为您提供以下服务流程

售前咨询

提供详细规格产品供您选择,
多样化细致性服务准则

产品定制

规格多样库存充足
可根据客户参数要求定制

安装指导

提供导轨使用指导、安装指导
可抵达现场进行处理指导

物流配送

下单后立即安排拣货,品质保障
专业的物流配送系统,方便快捷

售后咨询

7*24h服务体系,
任何产品售后问题及时为您解答

秉承“工匠精神”,凭借过硬技术实力
致力于为您提供更好的直线导轨系列产品

网站首页 -  产品中心 -  荣誉资质 -  车间实景 -  关于鹏银 -  新闻资讯

公司地址
浙江省嘉兴市海盐县武原街道桑德兰路8号

服务热线
199 5731 6665